欣威視通發揮端到端的產品研發能力,推出云平臺版的AI智慧通行云平臺及局域網版本的Ezface,搭配人臉識別測溫終端DM1071-T,提供人臉識別/體溫測量/考勤管理一站式平臺級服務,解決門禁閘機、考勤打卡、陌生人拜訪等場景下對安全、考勤、門禁的需求,為用戶提供可快速集成的智慧通行軟硬件一體化系統解決方案。
▼
局域網版管理后臺Ezface
Ezface 實時監控畫面
Ezface 功能設置界面
Ezface 考勤記錄界面
EzFace采用“C/S 架構”運行于 PC 平臺上,是一款強大的人臉識別體溫篩查系統管理軟件。用于實時記錄體溫、是否配戴口罩及識別時間等信息,可實現設備管理、人員管理、視頻監控、數據統計及通行權限等功能,簡單易用高效,輕松實現對人臉識別體溫篩查設備的遠程智能化管理。
▼
AI智慧通行云平臺
▼
支持千萬級數量終端連接
AI智慧通行云平臺采用分布式部署,支持千萬級數量不同系統的終端連接,支持多操作系統云端部署,集七大功能模塊為一體,界面架構清晰,功能明確,操作簡單易上手,并采用blowfish+動態密鑰加密方式,使得整套系統更加安全可靠,深度挖掘用戶需求,已在國內外用戶中獲得大量好評。
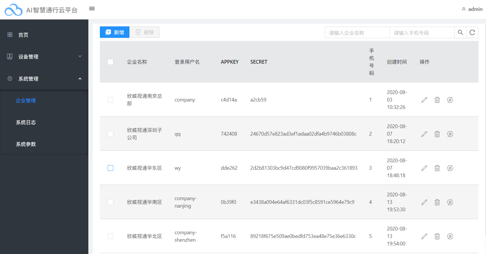
AI智慧通行云平臺基于專用于物聯網的AMQP協議,因此可支持千萬級數量終端的連接,同時可通過云平臺分配多個用戶/企業管理賬號,以滿足大型集團總部對多個分公司權限及考勤數據的集中管理。

多企業管理界面
▼
支持Android和Linux終端連接
鑒于Android系統的人臉識別測溫終端的可定制性強及畫面動效豐富,和Linux系統的穩定及執行的高效率,AI智慧通行云平臺支持這兩種不同系統終端的同時連接,一個平臺即可實現對不同系統終端安全、高效、統一的管理及控制,讓部署更加靈活,適用于更多的客戶群體及應用場景 。

▼
多操作系統云端部署
▼
模塊全面,操作簡單
▼
七大功能模塊
關鍵要素概況展示
AI智慧通行云平臺的可視化管理操作系統,功能模塊劃分清晰,設置簡單便捷,可快速上手操作;針對使用者最關心的幾個關鍵要素在首頁就進行了概況展示,幫助使用者快速了解總刷臉數、員工刷臉數、訪客刷臉數、陌生人刷臉數、設備統計、昨日考勤、今日通行、實時監控的相關數據和記錄。
▼
人員管理
在AI智慧通行云平臺中,我們從用戶的需求出發,嚴格定義了員工、訪客、黑名單、陌生人的角色權限,方便用戶個性化管理。
▼
訪客管理
只需要幾條主要信息即可新增訪客,同時支持導出訪客信息、自動進行訪客統計,導出訪客拜訪記錄信息等功能。

訪客統計包含訪客ID、姓名、首次識別時間、首次識別設備、末次識別時間、末次識別設備、通行次數信息,同時支持訪客ID、姓名及時間段篩選搜索,訪客記錄全盤掌握。
▼
設備管理
AI智慧通行云平臺支持設備的分組,便于用戶查找和分區;對設備的基本信息,包含名稱、編號、狀態、分組、IP地址、固件版本、設備人臉數、音量等進行了逐一的展示,幫助使用者快速了解每臺設備的狀態信息;同時支持遠程開門、添加人員、時間校準、參數設置。
除此之外,還支持對終端設備多達27項的遠程參數設置,包含使用頻率較高的設置,
如:語言、音量、陌生人報警、口罩檢測、門禁模式、顯示屏模式、補光燈模式等。
▼
通行規則
在此模塊中,分別對員工、訪客以及黑名單不同的身份人員進行個性化的通行授權設置,例如規定ID為001號的員工在每周一至每周五的08:00-23:59的時間段可以通過刷臉進入名稱為05001530終端控制的門禁。通行規則的設置,可實現對員工的分區域考勤,訪客到訪也可自動匹配權限,增加拜訪好感,提升接待效率 ,設置黑名單的人員,可實現實時監控,提高了整體系統的安全級別,智能又便捷。

▼
考勤管理
考勤規則的靈活設置對考勤統計有著重要的意義,AI智慧通行云平臺支持用戶設置考勤規則,包括班次、節日、公休日期設置,
時間段精確到分鐘,充分滿足用戶對考勤規則的個性化需求。

同時云平臺自動記錄考勤詳細情況(含員工ID、名稱、打卡日期、類型、首次打卡時間、末次打卡時間、考勤狀態、加班時長、體溫)及考勤統計(員工姓名、正常、遲到、早退、缺勤、總次數情況)并形成報表,支持多條件篩查以及一鍵導出,讓考勤管理不再繁雜。

▼
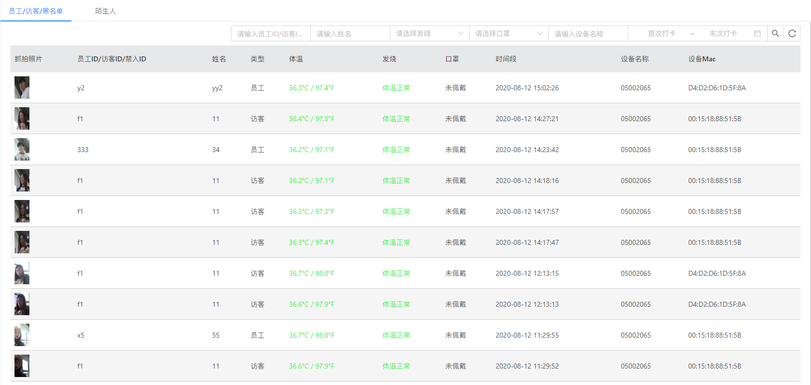
識別記錄
對于所有已識別到的人員,人臉識別測溫終端會自動抓拍照片,并上傳到云端,生成識別記錄,形成統計圖表;支持對ID、姓名、發燒與否、戴口罩與否、設備名稱、首次打卡和末次打卡時間等條件的篩選,可快速定位異常體溫人員,追根溯源,查找對應通行記錄。


▼
系統管理
支持體溫異常郵件通知功能,可設置多收件郵箱,并對發送內容(體溫異常和考勤數據 )、發送周期進行點選,一旦有體溫異常的員工、訪客或者陌生人,自動發出提醒郵件,及時通知,特殊情況不遺漏,幫助管理人員做好提前的防范工作。

▼
支持二次開發
除此之外,我們還可以提供標準化API接口的調用,以支持合作伙伴的二次開發;同時,欣威視通還接受云平臺定制服務,實現用戶多場景的個性化功能需求。












